华纳兄弟去年十月向美国专利及商标局提交了一份完整的 VR、AR 观影系统的专利,从服务器端到消费者头显终端,再到传输方式,几乎完全绘制了一个 VR、AR 时代的电影院蓝图。
华纳兄弟对这套系统的简介如下:一套为普通荧幕(例如:电影荧幕)和个人沉浸式设备提供数据的娱乐系统。例如:影音数据存储服务器与多个沉浸式输出设备(例如:VR 输出设备)的数字信号沟通。服务器配置的数字信号可同时传输到多个沉浸式输出设备。
下图是该系统的简单概括:

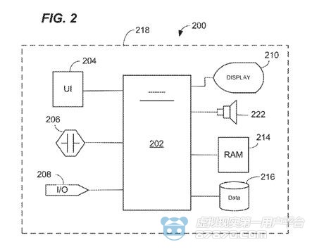
图二(FIG. 2)是华纳描述的沉浸式输出设备构造,也就是头显。202 是 CPU、206 是控制器,222 是音频换能器。华纳并没有在专利中指出 CPU 最终会是英特尔还是 ARM,其他诸如传感器具体有哪些、有多少也没有指明。

图四(FIG.4)是服务器端的示意图,408 是数据存储设备,通过 422 的数据传输分发系统传输到用户终端。

华纳并未指出具体的传输方式,但要传输如此数量级的数据,或许我们还要等待 5G 的到来。从这份专利申请中可以看到世界级大型传媒公司对未来的一丝规划,再联想美国电信运营商 AT&T 对华纳兄弟母公司时代华纳的并购案,我们对于 VR 和 AR 作为娱乐应用的基础设施建设期待不免大增。
来源:87870
发表于2025-11-14 14:10:00
发表于2025-11-14 12:01:00
发表于2025-11-13 11:46:00
发表于2025-11-12 15:36:00
发表于2025-11-12 15:06:00
发表于2025-11-12 14:51:00
发表于2025-11-10 16:12:00
发表于2025-11-07 12:55:00
发表于2025-11-07 10:41:00
发表于2025-11-07 09:41:00
京ICP备11027698号 CopyRight 2010-2015 All Rights Reserved