Paypal在一个新的专利中提出,人们可以在AR(增强现实)中购买他们实际看到的东西。
专利名为“使用AR来判断信息,”但其叙述说,系统可能会彻底改变人们的交易方式(使用Paypal)在虚拟世界。
现在,Paypal是一个主要的电子支付系统,主要用于电子购物和汇款。使用Paypal进行网上购物很简单,按下一个按钮,省去了摸索与信用卡和数字重复的字符串类型。本专利提出的系统也是希望为增强世界带来了同样的简单的购物流程。

专利的官方描述:
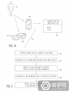
使用AR系统、方法和计算机程序产品用来识别感兴趣对象,并提供相关信息。例如,一种计算机的实现方法可以包括在多个视图对象之间识别感兴趣的对象,识别感兴趣的对象以提供实时信息,提出确定感兴趣对象的实时的信息作为部分图像框,然后在图像框内进行这个基于用户选择感兴趣对象的交易。

这些术语意味着用户可以使用这个系统与一个特定的对象建立联系,如公交车。然后,该系统将提供有关巴士的信息,如路线、时间和车费金额,最后用户可以选择买票、乘坐巴士。
这样的系统可能会给Paypal数以百万计的新交易和利润。
从本质上讲,这是很早的关于AR的商务应用想法。也许有一天,在HoloLens应用商店可以看到相关应用。
来源:青亭网
发表于2025-11-14 14:10:00
发表于2025-11-14 12:01:00
发表于2025-11-13 11:46:00
发表于2025-11-12 15:36:00
发表于2025-11-12 15:06:00
发表于2025-11-12 14:51:00
发表于2025-11-10 16:12:00
发表于2025-11-07 12:55:00
发表于2025-11-07 10:41:00
发表于2025-11-07 09:41:00
京ICP备11027698号 CopyRight 2010-2015 All Rights Reserved