
Oculus此前曾经收购眼动追踪公司EyeTribe。虽然这家公司的技术实力并不太被业内人所认可,不过目前Oculus的眼动追踪新专利倒是表明这一收购可能不是打水漂。
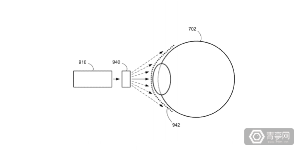
上个月曝光的文档是Oculus在2016年末提交的,披露了一款“眼动追踪设备”,包括“深度优先分析器”,可以调整和用户眼部的距离。同时还包括一部“屏显设备,能够基于眼部的位置,显示一个或更多的被选中图片”,暗示这款屏显可能会根据用户观看的方位作出反应。
这一专利还揭示了Oculus可能定位眼部动作和位置的方式。称眼动追踪的需求是“压缩、轻型并且精确”,而这一专利提供的方法就能满足这一要求,同时还“功耗低,能够维持较长的续航”。

那么,这是否意味着眼动追踪设备会和VR头盔独立存在呢?——因为Oculus Rift这样连接PC的VR头盔是不需要电池的。或者,这款设备是为了Santa Cruz这种一体机准备的吗?
有意思的是,这一专利是在12月30日提交的,这正好是Oculus收购Eye Tribe之后的两天。貌似Facebook的VR团队对眼动追踪很上手。而Oculus的老对手HTC Vive上周也宣布了将很快会发货1500元人民币的七鑫易维眼动追踪模组。谷歌也收购了眼动追踪公司EyeFluence。
眼动追踪可能会是推动VR行业向前发展的一个重要基石。表面上来看它只是一种新的输入方式,而实际上,它带来的注视点渲染(foveated rendering)技术能够让电脑只需要渲染用户瞳孔集中注视的中心,从而大幅降低VR对电脑的需求。
来源:青亭网
发表于2025-11-14 14:10:00
发表于2025-11-14 12:01:00
发表于2025-11-13 11:46:00
发表于2025-11-12 15:36:00
发表于2025-11-12 15:06:00
发表于2025-11-12 14:51:00
发表于2025-11-10 16:12:00
发表于2025-11-07 12:55:00
发表于2025-11-07 10:41:00
发表于2025-11-07 09:41:00
京ICP备11027698号 CopyRight 2010-2015 All Rights Reserved