当谷歌、三星等一众科技公司开始进军VR领域的时候,苹果却巍然不动,外界不禁纷纷猜测难道苹果不看好虚拟现实,但是苹果最近的一项新专利貌似透露了它进军VR领域的动作。

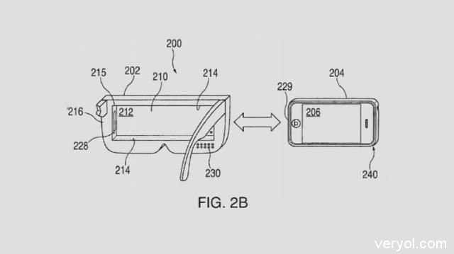
根据苹果这项最新专利显示,用户可以用iPhone作为虚拟现实头盔的遥控器使用,最然在专利中苹果没有明确提及这是一款虚拟现实设备,但从造型上看,这的确是一款虚拟现实或者增强现实类产品。
从草稿图来看,苹果的这款虚拟现实设备或者增强现实设备和谷歌Daydream和三星Gear VR外观非常相似,不过草稿图中还向我们透露一个很重要的消息,苹果描述了一种场景通过iPhone和头盔上的某种端口连接,然后配对后变成了辅助控制装置。而且我们也看到这个遥控器和iPod类似。

虽然不能明确看出来苹果的这份专利究竟是什么,但是我们至少可以明确苹果是对虚拟现实或者增强现实有兴趣的。值得一提的是此前苹果CEO库克在很早之前也表达过自己对增强现实技术的看法,他表示很期待增强现实的前景的。所以这份专利描述的很有可能是增强现实产品了?也不一定,毕竟我们都知道专利和距离成为成品还存在很大差距。
【来源:非常在线原创 作者:杨英】
发表于2025-11-14 14:10:00
发表于2025-11-14 12:01:00
发表于2025-11-13 11:46:00
发表于2025-11-12 15:36:00
发表于2025-11-12 15:06:00
发表于2025-11-12 14:51:00
发表于2025-11-10 16:12:00
发表于2025-11-07 12:55:00
发表于2025-11-07 10:41:00
发表于2025-11-07 09:41:00
京ICP备11027698号 CopyRight 2010-2015 All Rights Reserved